新功能
一、节假日设置
全局设置新增节假日设置。新增节假日时,依次填入节假日名称、开始日期、结束日期,默认启用该节假日。

在设置好节假日后,在排课时,可选择是否跳过节假日,如选择跳过,则在节假日所对应的时间段内不生成相应的课次。

注:1、无论新增还是编辑节假日,均不影响之前已经排好课的课次,只会影响后面排课时是否生成课次。
2、编辑排课信息时,若打开跳过节假日开关,排课信息会根据最新设置的节假日进行更新。
二、新增招生分析报表
1、学员来源分析
学员来源分析报表统计不同学员来源的线索数、试听相关数据、报名相关数据等。

学员来源可在系统设置-学员属性中去自定义维护。
2、跟进人排行
跟进人排行报表统计不同跟进人的线索数、试听相关数据、报名相关数据等。

体验优化
一、学员停课优化
现在对学员进行停课时,可选择是否自动复课。
若在停课时关闭自动复课开关,停课后需要手动取消停课,否则会无时间限制性停课。
若在停课时打开自动复课开关,选择一个具体的复课时间,当到达此时间,将会自动取消停课,将学员就读状态改为在读。在此之前,也可以手动取消停课。

若是自动复课模式,在设置自动复课时间后,还可对自动复课时间进行修改。

二、公海池规则设置优化
公海池规则设置中,系统自动回收潜客新增自动回收前多少天,通知销售人员跟进或者通知销售人员安排潜客报名,从而提高潜客的转化率。
该通知可在短信模板中设置是否开启。

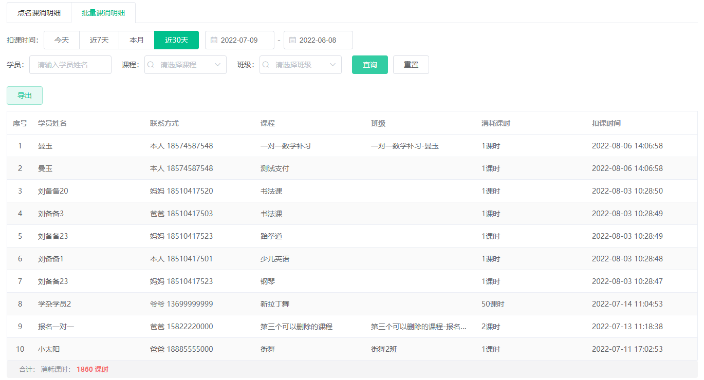
三、新增批量课消明细报表
课时明细新增批量课消明细报表,统计学员管理中批量课消相关数据,包括学员姓名、课程、班级、消耗课时、扣课时间等相关数据。

四、定时通知优化
短信或者微信通知,定时提醒类的可以自定义设置提醒时间,修改后,设置次日生效。

五、其他优化
【学员查询】潜客管理、学员管理列表支持卡号查询学员,可用回车键代替鼠标点击确认。
【历史学员】历史学员列表点击学员姓名可查看详情。
【新增潜客】新增潜客时,可按阳历或者阴历去设置学员的生日。
【通知管理】发布通知时,接收班级可以选择多个班级批量通知。
【报表导出】支付明细和课时明细新增导出功能。
【学员考勤】刷卡考勤时,考勤统计中的今日成功签到学员、今日待签到学员、今日待签退学员点击可查看详情。

当前位置:







